Genmuda – Harus diakui kalo Apple terkenal emang karena iPhone dan MacBook ciptaan mereka punya desain kece, cepat, dan udah pasti kekinian banget. Namun demikian, di balik dua produk unggulan tadi ternyata Apple punya inovasi lain yang engga kalah canggih loh.
Setiap inovasinya ini bahkan udah dipatenin di Amerika Serikat. Karena itu, Apple bisa aja nuntut perusahaan lain yang niru teknologinya tanpa bilang-bilang. Udah siap liat invoasi yang dibuat Apple? Cekidot!
1. Inframerah pemblokir kamera

Paten atau hak cipta pembuatan benda ini udah diurus Apple sejak 2009, menurut The Guardian, Juni lalu. “Pemancar inframerah itu diletakkan di area yang melarang perekaman gambar. Alat elektronik yang menerima sinyal dari pemancarnya otomatis tidak bisa merekam gambar,” kata Apple.
Rencananya teknologi ini bisa bisa dipasang di tempat privat. Misalnya aja di konser, di dalam bioskop, atau di sejumlah museum di Amerika. Tentu aja, teknologi Apple ini jadi polemik sama pejabat AS karena dinilai memangkas kebebasan berekspresi.
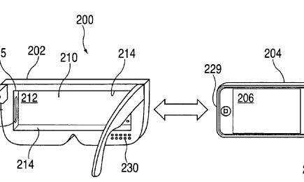
2. Headset VR khusus iPhone

Meski Apple selalu bilang kalo mereka belum berniat ngebuat perangkat VR khusus iPhone, The Guardian justru ngebocorin fakta sebaliknya. Situs itu nemuin permohonan hak cipta Apple yang berisi kacamata besar dengan celah khusus iPhone di tengahnya.
Alat itu juga dilengkapi earphone dan wireless remote. Kalo kata proposal patennya sih, teknologi itu bikin pengguna komputer engga perlu kerepotan sama kabel waktu lagi mau main VR.
3. Jam tangan pengontrol kamera

Apple juga udah ngebuat paten smartwatch, terutama yang bisa bikin pemilik iPhone buat ngambil gambar dari kamera yang dikontrol lewat sebuah jam tangan. Apple pun kabarnya udah ngedesain gagang iPhone yang bisa ditempel di sepeda, helm, atau di tempat lain.
Smartwatch itu yang bikin pengguna iPhone engga perlu kerepotan kalo mau ambil gambar sambil naik sepeda, terjun payung, atau bahkan surfing. Sekilas teknologi ini dibuat supaya nyaingin kamera GoPro yang bisa dikontrol lewat iPhone.
4. Cara membuka kunci smartphone

“Slide to Unlock” jadi sebuah frasa yang sering diliat pengguna iPhone. Dengan menggeser tulisan itu, iPhone yang tadinya kekunci bisa nyala dan digunain seperti sedia kala.
Cara ini sebenarnya pertama kali dipatenin sama Apple. Android sama sekali engga bisa niru dan karena itu, doi ngebuat beberapa cara lain buat buka kunci smartphone. Kalo sama banget kaya Apple, nanti digugat ke pengadilan.
5. Desain ponsel berujung lengkung

Ada alasan kenapa pengadilan AS mau ngurusin gugatan Apple ke perusahaan smartphone lain perkara desain. Tiap desain ponsel Apple soalnya juga dibuat patennya. Dengan kata lain, desain iPhone tuh dilindungi hukum Amerika Serikat.
Wajar aja mengingat iPhone dan MacBook emang punya desain yang kece abis. Bentuknya yang simpel keliatan elegan dan engga rempong itulah yang kadang sudah dijiplak sama produsen ponsel lainnya.
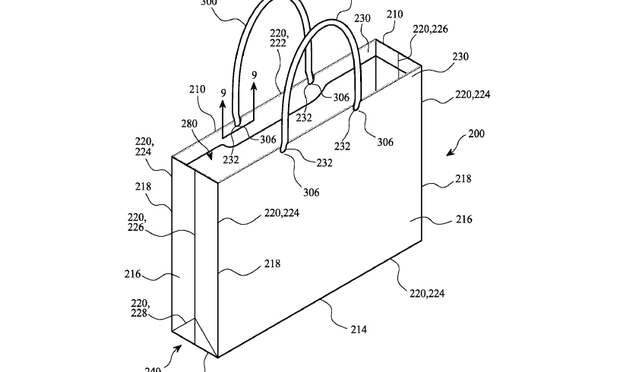
6. Kantong kertas

Serius. Selain ngebuat teknologi kece seperti di atas, Apple juga ngebuat paten desain kantong kertas warna putih. Di mana letak inovasi yang bisa disombongin? Kantong itu dibuat dari bahan daur ulang menggunakan sedikit pemutih.
Tujuannya sih supaya kantong kertas ini bisa dipakai di Apple Store. Selain putih bersih ini sekaligus mengurangi limbah pemutih kertas yang berbahaya banget buat lingkungan.
See? Dari beberapa paten di atas kayaknya engga heran kenapa perusahaan ini emang layak jadi yang terbaik. Kawan Muda ada komentar lain? (sds)




